GREENBUILDINGに関するお問い合わせこちら

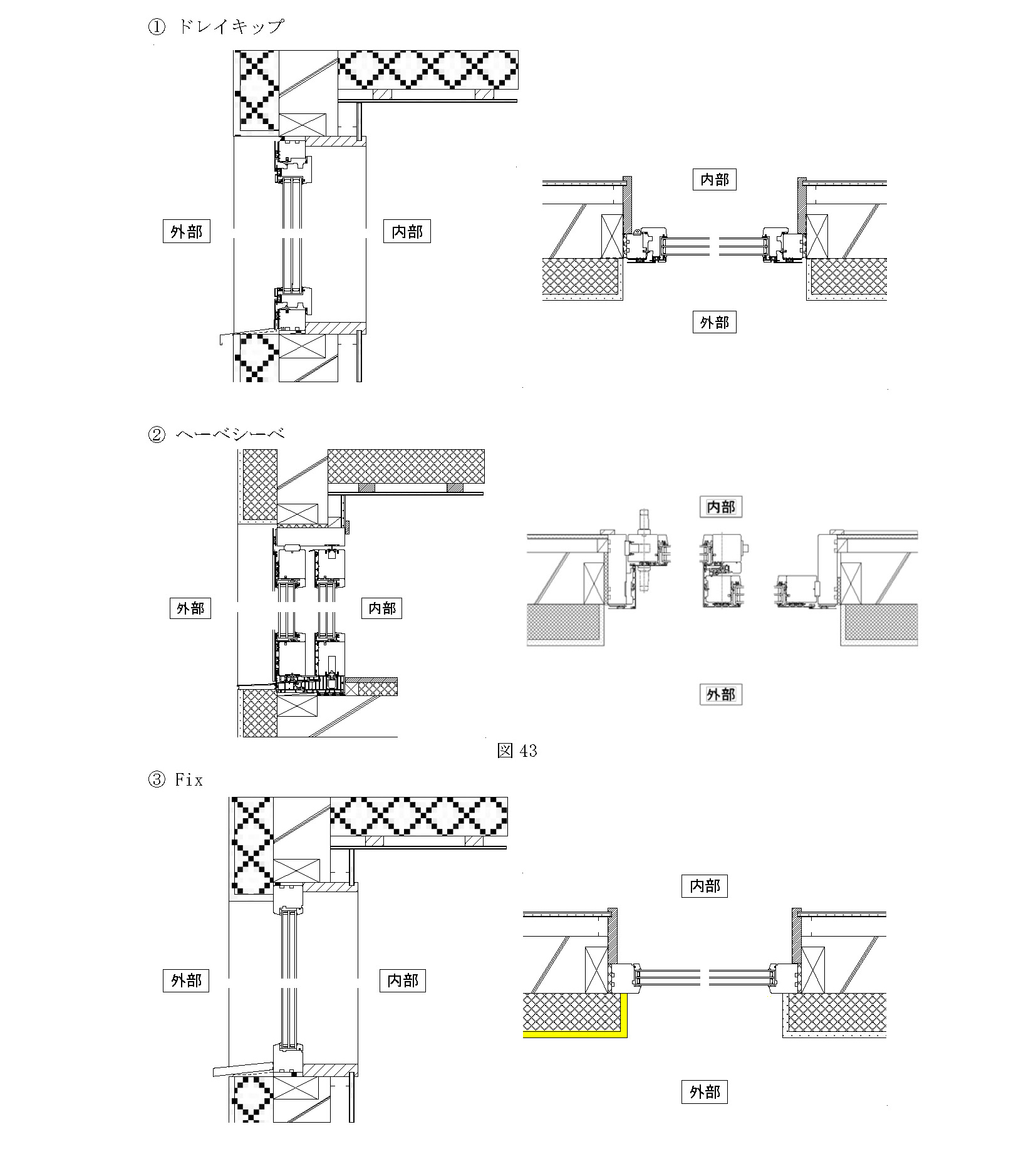
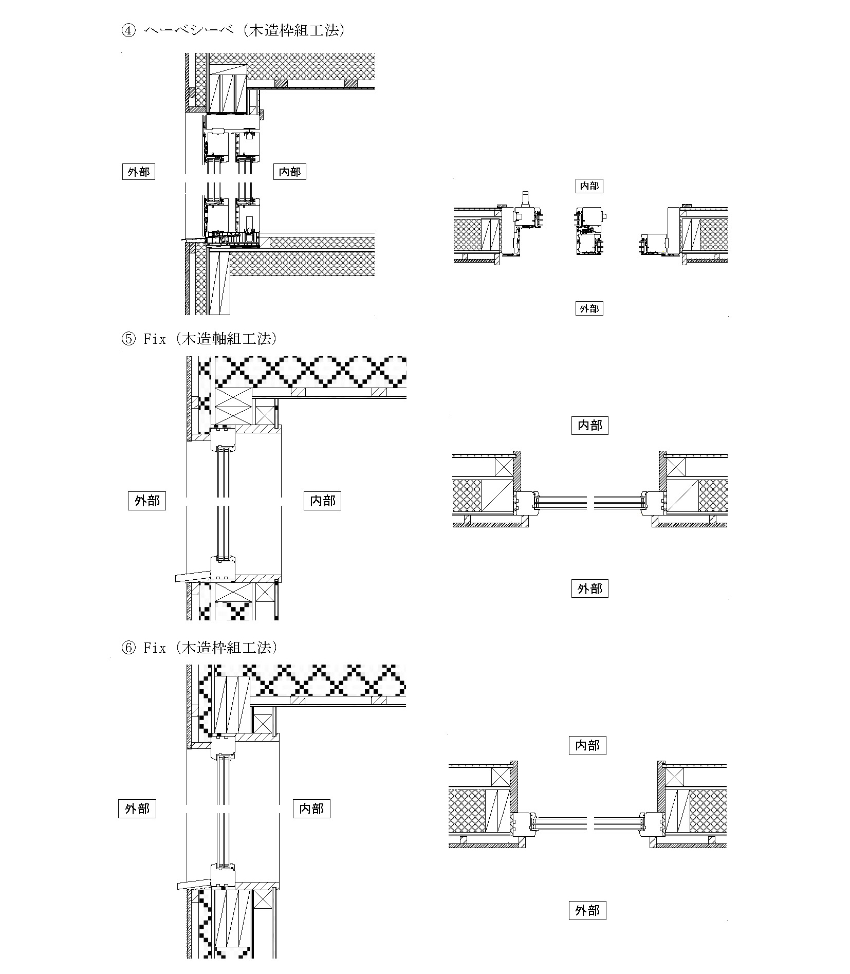
木製アルミクラッドサッシ収まり図
高い断熱性、高い安全性を誇るUNILUX ALUMINIUM CLAD WOODの収まり図施工時の参考詳細図です。

木製に対する施工時の参考詳細図



鉄骨造に対する施工時の参考詳細図


RC造に対する施工時の参考詳細図


詳しくは下記のフォームからお気軽にお問合せください。


製品に関する資料請求・お問合せ

下記問合せフォームから送信後、メールにて自動返信が届きますので受信をご確認くださいますようお願いします。後日担当者から連絡させていただきます。どうぞお気軽にお問合せください。


ページトップへ

  • CHANNEL ORIGINAL
  • PASSIVEHOUSEJAPAN
  • 建もの省エネ×健康マップ
  • 環境とCSRと志のビジネス情報誌オルタナ
© Green Building 2020